行政强制措施流程.docx
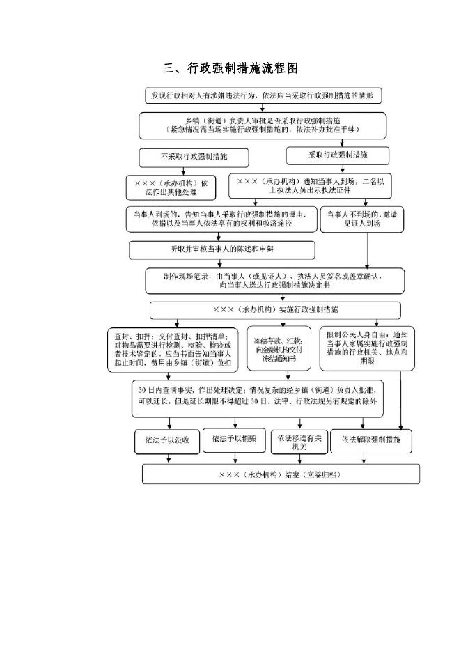
叶赫满族镇行政强制措施流程 (含流程图) 一、适用范围 发现当事人有涉嫌违法行为,依法应当采取行政强制措 施的情形。 二、工作流程 执法人员采取行政强制措施,按以下步骤实施: 1.审批。实施前须向乡镇(街道)负责人报告并经批准, 紧急情况需当场实施行政强制措施的,需在 24 小时内 依法补办批准手续。 2.通知当事人。通知当事人到场,两名以上执法人员出 示执法证件;当事人不到场的,邀请见证人到场,由见证人 和执法人员在现场笔录上签名或者盖章。 3.告知权利。当事人到场的,告知当事人采取行政强制 措施的理由、依据以及当事人依法享有的权利和救济途径。 4.听取陈述和申辩。听取并审核当事人的陈述和申辩。 5.制作现场笔录。现场笔录由当事人和执法人员签名或 者盖章,当事人拒绝的,在笔录中予以注明。 6.实施强制措施。向当事人送达行政强制措施决定书, 并实施行政强制措施。实施查封扣押措施的,执法人员应制 作并当场交付查封、扣押决定书和清单。 7.作出处理。30 日内查清事实,作出处理决定(依法予 以没收,依法予以销毁,依法解除强制措施,依法移送有关 机关);情况复杂的,经乡镇(街道)负责人批准,可以延 长,但是延长期限不得超过 30 日,法律、行政法规另有规 定的除外。 8.结案(立卷归档)。 三、行政强制措施流程图

行政强制措施流程.docx

