行政行政检查程序流程图.docx
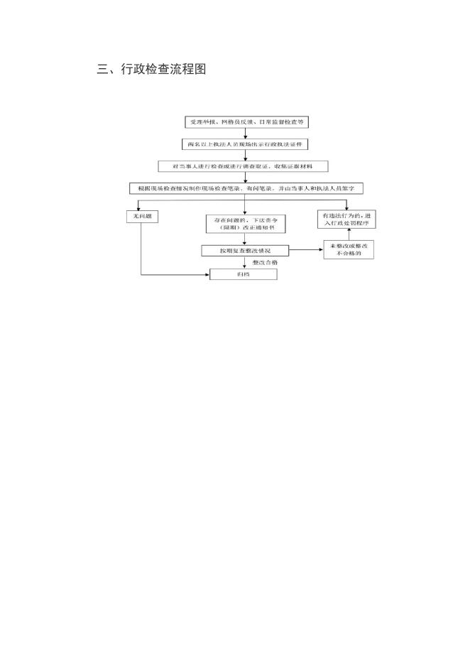
平东街道办事处行政检查程序 (含流程图) 一、适用范围 适用所有行政检查事项。 二、工作流程 执法人员开展行政检查,按以下步骤实施: 1.表明身份。不少于两名执法人员向当事人出示行政执法 证件,表明身份。 2.现场检查。对当事人进行检查或进行调查取证,收集证 据材料,并根据现场情况制作现场检查笔录、询问笔录,并由 当事人和执法人员签字。 3.决定。发现违法问题的,下达责令(限期)改正通知书, 责令当事人限期整改;发现违法行为的,依法进入行政处罚程 序。 4.复查。根据责令(限期)改正通知书内容,按期复查整 改情况,未整改或整改不合格的,依法进入行政处罚程序。 5.归档。将相关检查资料立卷归档。 三、行政检查流程图

行政行政检查程序流程图.docx
